Aplicable a los productos con n.º referencia: 401558C, 401559C
Índice
Conoce tu aplique LED sin cables Vega
![]() |
![]() ![]() | Luz sin cables ni complicaciones. Diseñado para una instalación rápida y sencilla, este aplique LED no requiere cableado ni obras. Perfecto para alquileres, caravanas o cualquier espacio donde se busque comodidad y diseño. Control táctil y luz regulable. Ajusta el brillo y la temperatura de color con un interruptor táctil intuitivo, ideal para lectura, relajación o decoración personalizada. Batería de larga duración y carga USB-C. Disfruta de hasta 30 horas de autonomía con su batería de polímero de litio recargable, equipada con un puerto USB-C para una carga rápida y universal. Versatilidad magnética y diseño portátil. Su base adhesiva 3M y sistema magnético permiten usarlo como luz fija o separarlo para llevarlo contigo por toda la casa o al aire libre. |
Datos técnicos
REFERENCIA | 401558C, 401559C |
ALIMENTACIÓN | USB-C |
LÚMENES | 240lm |
TEMPERATURA DE COLOR | 4000K |
ÁNGULO DE APERTURA DE ILUMINACIÓN | 120º |
| BATERÍA | 3.7V / 3000mAh |
TIEMPO DE CARGA | 4.5h |
TIEMPO DE ILUMINACIÓN | Hasta 30 días |
| MATERIAL | 401558C: Madera 401559C: PVC + Acrílico |
| DIMENSIONES | 150x30x43mm |
| PESO | 401558C: 300g x unidad 401559C: 260g x unidad |
| PROTECCIÓN | IP20 |
TEMPERATURA DE USO | -20ºC~+50ºC |
HUMEDAD DE TRABAJO | ≤ 95% RH |
Instalación
La versatilidad de Vega reside en sus múltiples modos de instalación. Por eso, te recomendamos que elijas bien la superficie en la que quieras tenerlo fijado y el modo de instalación que más se adapte a tus necesidades:
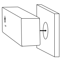
MODO A. IMANTADO A UNA SUPERFICIE DE HIERRO | MODO B. IMANTADO AL DISCO DE HIERRO AUTOADHESIVO |
![]() | ![]() |
Deposita el aplique directamente sobre cualquier superficie de hierro. | Ayúdate del disco de hierro autoadhesivo para fijar el aplique Vega en cualquier superficie lisa. |
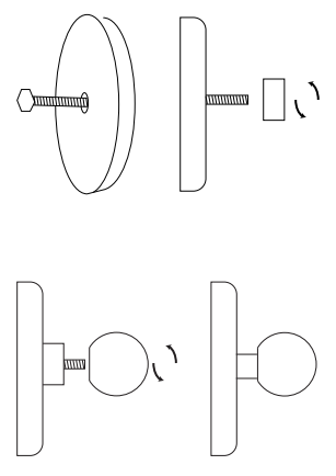
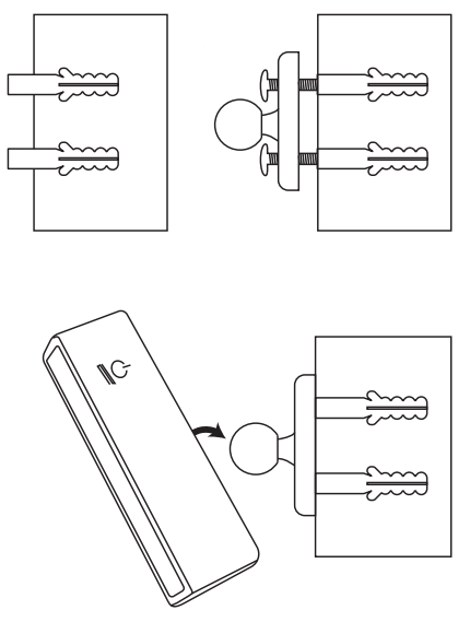
MODO C1. CON SOPORTE Y ADHERIDO AL ADHESIVO DE DOBLE CARA |
Esta opción te permite mayor flexibilidad a la hora de orientar la iluminación de tu aplique, manteniendo, a la vez, la sencillez en la instalación. |
![]() | ![]() |
(C1a) Si cuentas con Vega en color madera, introduce el tornillo de montaje a través del agujero central y enrosca el cilindro y imán, asegurándote de que queda bien fijado. | (C1b) Si cuentas con Vega en color blanco, introduce el tornillo de montaje a través del agujero central y enrosca el imán, asegurándote de que queda bien fijado. |
![]() | |
|
MODO C2. CON SOPORTE Y ATORNILLADO A LA SUPERFICIE DESEADA |
Esta opción te permite mayor flexibilidad a la hora de orientar la iluminación de tu aplique, pero añade una instalación fija. |
![]() | ![]() |
(C2a) Si cuentas con Vega en color madera, introduce el tornillo de montaje a través del agujero central y enrosca el cilindro y imán, asegurándote de que queda bien fijado. | (C2b) Si cuentas con Vega en color blanco, introduce el tornillo de montaje a través del agujero central y enrosca el imán, asegurándote de que queda bien fijado. |
![]() | |
|
Componentes y botones del dispositivo
![]() | Botón de encendido / apagado / ajuste de intensidad de la luz Base magnética
|
Funcionamiento
![]() | Botón de encendido / apagado:
|
Orienta el dispositivo en la dirección que prefieras. | ![]() |
![]() | Cárgalo nuevamente cuando se haya agotado la batería. |
Si quieres saber más o tienes alguna dificultad, consulta la Base de conocimiento o ponte en contacto con nosotros para recibir ayuda personalizada.
¿Le ha sido útil este artículo?
¡Qué bien!
Gracias por sus comentarios
¡Sentimos mucho no haber sido de ayuda!
Gracias por sus comentarios
Sus comentarios se han enviado
Agradecemos su esfuerzo e intentaremos corregir el artículo












