Aplicable a los productos con n.º referencia: 401589C
Índice
Conoce tu foco solar Aday
![]() ![]() | Ilumina eficazmente áreas de hasta 80m2 con hasta 3 temperaturas de color de la luz (CCT), ideal para crear un ambiente equilibrado y muy funcional. Equipado con un sensor crepuscular que detecta la luz ambiental y un sensor de movimiento microondas que ajusta la intensidad de la luz según el movimiento detectado, incluso a través de plásticos y obstáculos. Juntos proporcionan una iluminación eficiente, segura y sin complicaciones. Su difusor curvo habilita un área de iluminación y detección de hasta 140º y 120º respectivamente, reforzando la seguridad y la visibilidad de la zona. Gran autonomía. El panel solar inclinable maximiza la eficiencia de carga, asegurando hasta 12 horas de iluminación ininterrumpida con una sola carga cada 2 días. Flexibilidad total en la instalación. Su ángulo de instalación de 170º ofrece la máxima versatilidad para dirigir la luz exactamente donde la necesitas. |
Datos técnicos
REFERENCIA | 401589C |
ALIMENTACIÓN | Panel solar monocristalino |
LÚMENES | 2200lm |
ÁREA DE ILUMINACIÓN | 80m2 |
TEMPERATURA DE COLOR | CCT (3000K / 4000K /6500K) |
ÁNGULO DE APERTURA DE ILUMINACIÓN | 140º |
ÁNGULO DE DETECCIÓN DE MOVIMIENTO | 120º / 6m (máx.) |
| LONGITUD DE CABLE | 2m |
| BATERÍA | 32700 3.2V / 15000mAh |
TIEMPO DE CARGA | 6h de luz directa |
TIEMPO DE ILUMINACIÓN | Hasta 12h (dependiendo del nivel de carga) |
| DIMENSIONES PLACA | 300x390x17mm |
| DIMENSIONES FOCO | 262x181x52mm |
| PROTECCIÓN | IP65 |
TEMPERATURA DE USO | -20ºC~+50ºC |
HUMEDAD DE TRABAJO | ≤ 95% RH |
![]() | *Si necesitas un cable de mayor longitud (3m) puedes adquirirlo haciendo clic aquí. |
Componentes

Instalación
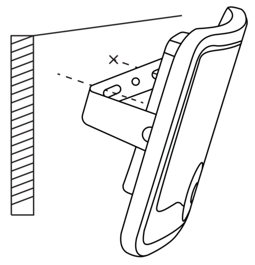
Elige un lugar adecuado para la instalación y sigue estos pasos: |
![]() | ![]() |
(1) Marca los agujeros de instalación de los soportes de pared del foco y de la placa y taládralos. | (2) Atornilla el soporte de la placa a la pared y atornilla la placa al soporte. |
![]() | ![]() |
(3) Atornilla el foco a la pared. | (4) Enrosca el cable del panel solar al foco y orienta el foco en la dirección deseada. |
Consideraciones previas
![]() |
(1) Antes del primer uso, pulsa cualquier botón del mando y carga el dispositivo bajo la luz directa del sol durante, al menos, 6h. |
![]() |
(2) Este foco funciona mediante la activación de dos condicionantes diferentes: un detector de movimiento microondas y un sensor crepuscular que detecta los cambios en la luz ambiental. La fuente de luz del dispositivo se encenderá, en un patrón diferente según el modo elegido, cuando la luz ambiental disminuya y se detecte movimiento. |
Encendido
![]() |
(1) Retira la pletina de plástico del mando a distancia. |
![]() |
(2) Antes del primer encendido, pulsa cualquier botón del mando y carga el dispositivo bajo la luz directa del sol durante, al menos 6 horas. |
Apagado
Puedes apagar tu foco Aday de forma temporal (solo durante una noche) o de forma permanente.
![]() | ![]() |
Apagado temporal Para apagarlo de forma temporal, pulsa el botón OFF una sola vez. Luego podrás encenderlo nuevamente pulsando el botón ON. | Apagado permanente Para apagarlo de forma permanente, pulsa el botón OFF del mando tres veces o mantén pulsado el botón de encendido de la base del foco durante, al menos, 2s. Luego deberás encenderlo pulsando el botón "Wake up" del mando o el botón de encendido de la base del foco durante 2s, respectivamente. |
Modos de funcionamiento
![]() | Recuerda que puedes modificar la intensidad de iluminación y la temperatura de color en cualquier modo desde el mando. |
Puedes seleccionar uno de estos modos desde el mando:
![]() | ![]() |
Modo temporizador En este modo, la intensidad de iluminación va descendiendo hasta llegar a la hora seleccionada (3h, 5h, 8h), como se indica en la tabla siguiente: | Modo auto Es el modo de encendido por defecto, pero puede seleccionarse también desde el mando si el foco se encuentra en otro modo. En este modo, la intensidad de iluminación va descendiendo a medida que avanza la noche, como se indica en la tabla siguiente: |
![]() |
Modo detección de movimiento A Pulsa el botón M del mando una vez. En este modo, la intensidad de la iluminación aumenta al 150% durante 30 segundos (la intensidad puede variar dependiendo del nivel de carga). Si no se detecta movimiento, la iluminación se mantiene al 30%, como se indica en la tabla siguiente: |
![]() |
Modo detección de movimiento B Pulsa el botón M del mando una segunda vez. En este modo, la intensidad de la iluminación aumenta al 150% durante 1 minuto (la intensidad puede variar dependiendo del nivel de carga). Si no se detecta movimiento, el foco permanece apagado, como se indica en la tabla siguiente: |
![]() |
Botones y ajustes del mando a distancia
(1) Encender. (3) Brillo al máximo. (5) Aumenta la temperatura de color (luz más fría). (7) Brillo al 50%. (8) Modo automático o crepuscular (la luminaria se encenderá al anochecer). (10) Programa el encendido al anochecer y el apagado tras 3 horas de funcionamiento. | ![]() | (2) Apagar (Púlsalo 3 veces para apagar el foco permanentemente. Las luces del foco parpadearán 3 veces para indicar el apagado). (4) Modos Detección de movimiento. (6) Reduce la temperatura de color (luz más cálida) (9) Enciende el foco tras el apagado permanente de la luminaria. |
(11) Programa el encendido al anochecer y el apagado tras 5 horas de funcionamiento | (12) Programa el encendido al anochecer y el apagado tras 8 horas de funcionamiento |
Botones y ajustes en el foco
Las luces LED situadas en la zona inferior del foco indican el estado de la batería. A continuación te indicamos el código de color de las luces.
![]() |
Indicador de porcentaje de carga y detección de movimiento (LED 100% en azul) |
![]() |
Botón de encendido / apagado y cambio de temperatura de color de la luz. |
Seguridad y mantenimiento
Lee atentamente estas instrucciones para una instalación y una conservación del producto adecuada y segura:
- Elige un lugar de instalación en el que la placa solar reciba suficiente luz solar directa durante el día para optimizar la carga de la batería (preferentemente orientado hacia el sur, en un lugar sin sombra, alejado de otras fuentes de luz que puedan interferir en el rendimiento del sensor crepuscular y donde la placa reciba al menos 3-5h de luz solar directa).
- Instala el dispositivo en una superficie plana y estable, alejado de aires acondicionados, calefacciones centrales o cualquier otro sistema de alto voltaje.
- Aunque el dispositivo está diseñado para ser instalado en exteriores, es recomendable situarlo en un lugar guarnecido de la lluvia.
- Retira la pegatina transparente de la placa y carga el dispositivo al menos 24 horas antes de su primer uso.
- Con el fin de evitar posibles daños en el producto, utiliza únicamente los accesorios incluidos en el embalaje para la instalación.
- No utilices el foco en ambientes cuya temperatura sobrepase el rango indicado en apartados anteriores para evitar el deterioro de la batería y de su vida útil.
- Mantén el dispositivo encendido para que la carga de la batería funcione correctamente.
- Carga el dispositivo al menos una vez cada 3 meses para evitar el deterioro de la batería.
- Si el producto ha sido almacenado durante más de un año, recuerda cargarlo completamente antes de su uso. Revisa cualquier posible daño o fuga antes de hacerlo.
- Carga el dispositivo bajo la luz directa del sol si la batería no ha recibido carga en 3 días.
- Limpia el panel solar y retira el polvo que haya podido acumular para que el dispositivo funcione en condiciones ideales. Lleva a cabo este proceso al menos una vez cada seis meses.
- Mantén el dispositivo lejos del fuego y el aceite para evitar incendios o explosiones.
- No sumerjas el foco ni la placa en agua.
- Mantén el foco y la placa alejado de los niños.
- La manipulación interna del producto hará que pierda la garantía.
¿No has encontrado lo que buscabas? Estamos aquí para ayudarte.
- Solicita ayuda personalizada: Rellena nuestro formulario de consultas o incidencias
- Aprende con nuestros vídeos paso a paso: Visita nuestro canal de YouTube
- Inspírate y descubre más sobre tecnología y confort: Lee nuestro Blog
¿Le ha sido útil este artículo?
¡Qué bien!
Gracias por sus comentarios
¡Sentimos mucho no haber sido de ayuda!
Gracias por sus comentarios
Sus comentarios se han enviado
Agradecemos su esfuerzo e intentaremos corregir el artículo




















